前言:
现在的设计图纸只能说一样难尽,有的图纸一目了然,有的图纸问题百出。这样就给我们的工作带来了很多的问题。我们今天用一个实例来讲解一下。这个问题出现在高程控制上面。
1、首先我们打开图纸,里面的内容我已经做了个表格来表示。

2、根据上面的图纸,我做了个表格把内容提取出来了。现在我们打开细部断面图和连接线图纸。



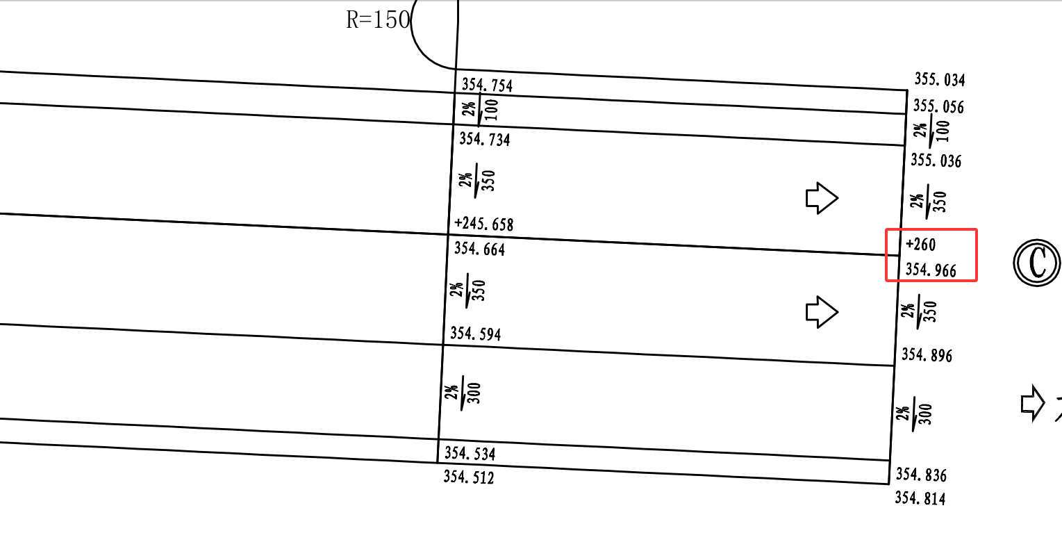
3、如上图所示,我已经把数据框出来了。现在问题来了,上面的纵断面图纸上面的设计高程和断面图还有连接线的数据合不上,怎么办呢?到底是断面图数据错了还是纵断面数据本来就有问题呢?我们进行下面的验证。我用excel表格把结果算了一下,结果发现我们的纵断面给出来的数据计算出来的结果跟纵断面图里面的设计高程不能吻合,那么我们基本可以判定纵断面给出的东西有问题。计算公式已经截图出来。

结语:
由于设计水平高低,导致图纸问题很多很多,所以图纸复核成了我们的大难题,也给我们的工作带来了很多的困扰。只有我们自己细心去发现问题,才能更好的解决问题。好了,还是那句老话,以上仅为个人观点,如有错误,欢迎指正。如果喜欢,也欢迎点赞、分享、关注、转发!

评论